アマゾン、ドローンで荷物を配送する倉庫用飛行船の特許を取得 アマゾン、ドローンで荷物を配送する倉庫用飛行船の特許を取得

アマゾン、ドローンで荷物を配送する倉庫用飛行船の特許を取得

アマゾン、ドローンで荷物を配送する倉庫用飛行船の特許を取得

街の上空に静かに浮かぶ構造物がある。まるでロボットのように浮遊するそれは、誰もが買い物をする店――そして誰も訪れることのない店。ボタンを押すだけで、空中に信号が送られ、商品は飛行準備が整い、ドローンによって優しく地上へと届けられる。

これは、Amazonに付与された特許で約束された未来だ。その特許は専門用語だらけのタイトルで、「無人航空機を用いた商品配送のための空中フルフィルメントセンター」とされている。「フルフィルメントセンター」とはAmazonが好んで使う倉庫の呼称であり、大規模な保管施設はメーカーと消費者の間の貨物の一時的な保管場所としてのみ位置付けられている。無人航空機とは、もちろんドローンのことだ。そして飛行船とは?全てが一体となった、倉庫と配送ロボットを収容する浮遊体だ。

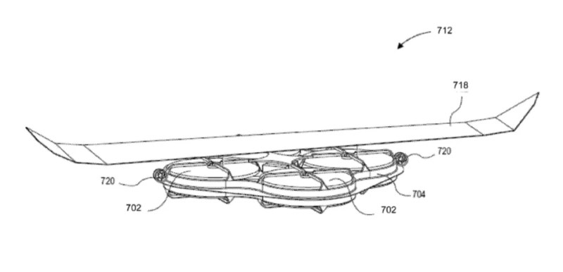
完全な飛行船倉庫システム
米国特許商標庁

この空飛ぶ倉庫とドローン配送システムは、自動化された物流の複雑なネットワークによって支えられる。内部のセンサーが在庫をリアルタイムで追跡し、地上の買い物客が商品を閲覧して購入できるようにする。荷物を積んだドローンは、わずかな操縦調整にのみ電力を使用し、下方の目的地まで滑空する。配送後、ドローンは地上ステーションに飛び移り、そこで充電するか、空の故郷へ向かうシャトルに積み込まれる。

特許によると、この飛行船は地上45,000フィート(約14,000メートル)までの高高度を浮遊するが、空気より軽い内部構造が揚力の大部分を担うため、飛行や浮遊に必要な電力については言及されていない。太陽光パネルの使用は妥当な推測だが、飛行船を倉庫に改造することに焦点を当てた文書において、「飛行船がどのように電力を自給するか」について言及されていないのは奇妙に思える。

あらゆる憶測に基づく特許と同様に、これは起こりうる未来の初期段階であり、いつか実現するかもしれない技術についてナプキンに書かれた概要を、大幅に洗練させたバージョンに過ぎない。注目すべきは、それが約束するビジョンだ。ほぼ瞬時に玄関先まで配達される。明示的に言及されるのは顧客だけという世界だ。エンジニアや技術者は舞台裏でドローンを充電し、通信リレーを作動させている。人間の配達員?彼らは、この特許によって置き換えられるであろう現状としてのみ言及されている。

Amazon配達ドローンのコンセプト
米国特許商標庁

現在、Amazonは既存のインフラ、つまりピークシーズンには自社の商用航空機で既存の配送サービスを補完できるオンラインマーケットを基盤として事業を展開しています。これは、FedExやUPSといった配送会社、そして両社合わせて80万人を超える従業員にとって、概ね好ましいニュースです。しかし、Amazon自身がサービス提供を担うとなると、必要な人的介入を最小限に抑えるためにあらゆる手段を講じます。例えば、食料品店の店員がいないAmazonのスーパーマーケットを思い浮かべてみてください。

Amazonの飛行船型倉庫では、内部に警備員や清掃員、その他いかなる労働者も必要としません。ロボットが商品の搬入と搬出を行います。これは空想の産物ですが、多くのテクノロジー企業が目指すもの、つまり従業員が機械を監視し、機械が顧客と対話する世界を約束するものです。

ああ、人間性の欠如。