By記事2026-01-04 自動運転車で食料品を配達するのは、人を輸送するよりも難しいかもしれない <img width="2000" height="1333" loading="lazy" src="/upload/20260104/5f9f90659be646.webp" alt="フォードの自動運転食料品配達" class="wp-image-146325" sizes="auto,... 記事
By記事2026-01-04 2018年パリモーターショーで最もクールなコンセプトカー この投稿をInstagramで見る無限の可能性を。新型プジョー e-Legend コンセプト #UnboringTheFuture プジョーUK(@peugeotuk)がシェアした投稿 2018年9月21日午前8時3分(太平洋夏時間) 2018年のパリモーターショーは、自動車メーカーにとって最新モデ... 記事
By記事2026-01-04 自動運転車メーカーは、シミュレーション走行距離を積み重ねています。その理由は次のとおりです。 自動運転車はすでに現実世界の路上を走っています。例えば、ウェイモの自動運転車はアリゾナ州フェニックスで乗客を乗せており、Drive.aiという企業はテキサス州フリスコの一部地域で人を運ぶ自動運転システムを運用しています。実際の路上での時間は貴重です。しかし、自動運転車の開発に携わるエンジニアには、も... 記事
By記事2026-01-04 ディズニーは危険な空中技を披露するためにロボットを採用している スティックマンってご存知ですか?高さ7フィート、体重わずか40ポンド(約18kg)のスイングロボットで、バック宙もでき、背中を地面につけるタイミングも自分で決められます。 5月に初めて公開されたスティックマンは、恐れを知らぬロボットパフォーマーの初期バージョンでした。一方、ディズニーが披露した最新の... 記事
By記事2026-01-04 この自動運転食料品配達車は歩行者を救うために自らを犠牲にするだろう ほとんどの自動運転車は人を運ぶために設計されています。例えば、アリゾナ州で運行されているGoogleの自動運転車はまさにその役割を果たしています。しかし、Nuroという企業は、卵、トイレットペーパー、ホットドッグ、その他の食料品を自宅まで運ぶ、街を自動走行する小型の「ロボット」を開発しました。そして... 記事
By記事2026-01-04 自動運転車が車線変更前に計算するものすべて 車線変更は人間のドライバーにとっては簡単です。しかし、自動運転車はそうではありません。脳の灰白質や筋肉の記憶の代わりに、自動運転車はプログラミング、人工知能、そしてレーザー、カメラ、レーダーなどの車載認識システムを用いて判断を下します。私たちは、スタンフォード大学のスタートアップ企業drive.ai... 記事
By記事2026-01-04 この自動運転車は回転するレーザーを利用して田舎道を走行する いつか自動運転車に乗りたいと考えているなら、その移動は都市部で行われる可能性が高いでしょう。自動運転車での一般向け移動サービスを提供する際、WaymoやDrive.aiといった企業は、それぞれアリゾナ州フェニックスやテキサス州フリスコといった地域を選んでいます。これらの地域には、未来の車に乗り込み、... 記事
By記事2026-01-04 自動運転車は良好なコミュニケーションで人々の信頼を獲得する必要がある 自動運転車は自律走行が可能かもしれませんが、それでも道路上の他の歩行者に意図を伝える必要があります。車内にドライバーがいない場合、前方を横断する歩行者は、まるで人間同士で「ぶつからないで」とアイコンタクトを交わすような安心感を与えてくれる人がいません。 Drive.aiという企業が、この問題の解決に... 記事
By記事2026-01-04 赤ちゃんの脳を持つ人工知能を作るべきだ アリソン・ゴプニックのキャリアは、今ではばかばかしいと考える心理学の実験から始まった。生後15ヶ月の乳児がどのようにして言葉を抽象的な概念(父親=養育者)と結びつけるのかを理解するため、彼女は9人の子供を1年間、週に1回訪問することを決めた。当時オックスフォード大学の大学院生だった彼女は、博士論文の... 記事
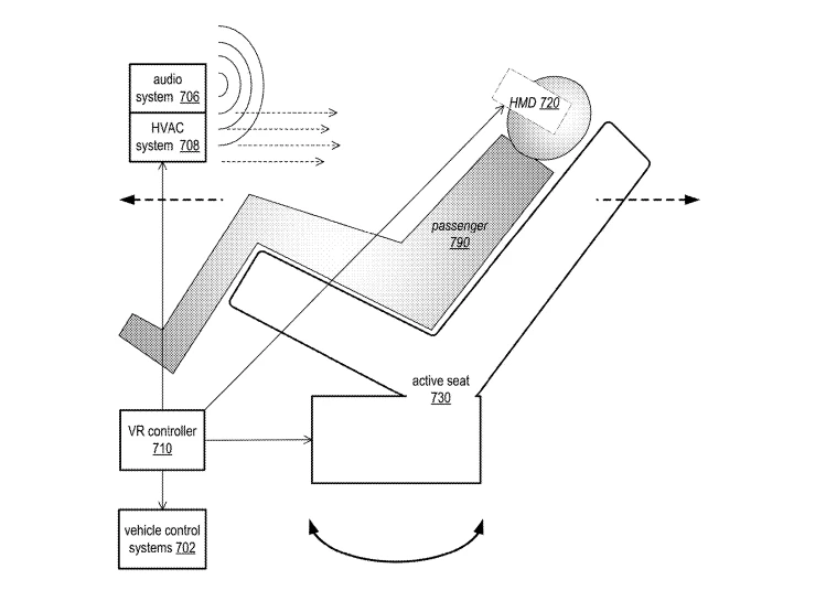
By記事2026-01-04 アップルは、VRヘッドセットを装着することで車内での吐き気を軽減できると考えている 車が自動運転になったら、退屈な乗客はどうやって時間を過ごし、乗り物酔いと戦うのだろうか?窓の外の景色をただ眺める代わりに、仮想現実(VR)のおかげで、日常の風景がシミュレーションされたゾンビで埋め尽くされるかもしれない。これが、VRシステムを自動車に組み込む様々な方法を説明した、Appleの新しい特... 記事