By記事2026-01-04 VRを使って家から脱出する11の方法 バーチャルリアリティはビデオゲーム機やスマートフォンほど普及していませんが、技術は急速に進歩しています。ソフトウェアは進化し、ハードウェアは安価になり、これらの体験で吐き気を催す人も減っています。 VRとゲームは重なり合う部分もありますが、VRにはさらに多くの側面があることを知っておくべきです。現実... 記事
By記事2026-01-04 ドライバーがリアルなトレーニングに使うレーシングシミュレーターの内部 <img width="2000" height="1328" loading="lazy" src="/upload/20260104/84e58ccd738272.webp" alt="ACOシミュレータ" class="wp-image-146398" sizes="auto, (max... 記事
By記事2026-01-04 Oculus Questは、現実世界の動きをVRに再現します。その様子をご覧ください。 <img width="2048" height="1152" loading="lazy" src="/upload/20260104/87c33ee904d759.webp" alt="オキュラス" class="wp-image-67831" sizes="auto, (max-widt... 記事
By記事2026-01-04 Techathlonポッドキャスト:新型Oculus Questの試用、テクノロジー業界の破綻、そして今週のテクノロジーニュース <img width="1055" height="1056" loading="lazy" src="/upload/20260104/a8673d8e6764e1.webp" alt="テカスロンポッドキャスト" class="wp-image-127142" sizes="auto, (... 記事
By記事2026-01-04 Oculus Questの新機能はVRの主流化にとって重要な一歩となる 昨日、FacebookとOculusは、周囲の空間をマッピングできるという画期的な機能を備えた、新しい自己完結型VRヘッドセットを発表しました。Oculus Questと呼ばれるこのデバイスは、4つの内蔵センサーを用いて、現実世界の周囲の環境を把握します。そして、その空間におけるユーザーの頭の位置を... 記事
By記事2026-01-04 米国のオリンピックスキー選手たちは冬季オリンピックに向けてVRでシュッシュしている 2018年冬季オリンピックに出場するアメリカのスキー選手たちは、2月に旌善アルペンセンターのゲレンデに足を踏み入れる。その際、360度動画を使ってコースを確認し、臨場感あふれるデジタル映像で体感する選手もいるだろう。彼らは、2016年と2017年に初めて撮影された男女ダウンヒル競技の映像を活用し、... 記事
By記事2026-01-04 今すぐバーチャルリアリティの世界に入るのに200ドルのOculus Goは必要ありません <img width="780" height="520" loading="lazy" src="/upload/20260104/bb2b9f558a2d55.webp" alt="オキュラスゴー" class="wp-image-33853" sizes="auto, (max-widt... 記事
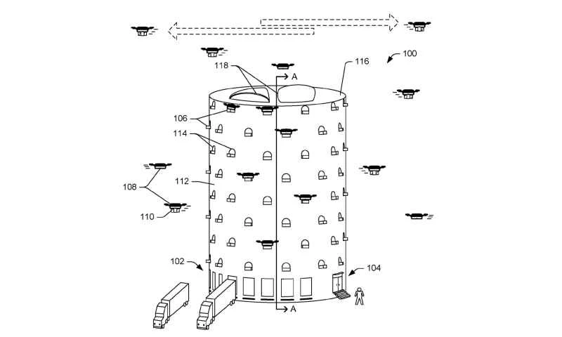
By記事2026-01-04 先週のテクノロジー:アマゾンのドローン配送ハブが登場か <img width="1800" height="1081" loading="lazy" src="/upload/20260104/3fde2a5ba159ef.webp" alt="Amazonドローンハブの特許" class="wp-image-126105" sizes="auto... 記事
By記事2026-01-04 仮想現実トレーニングでオリンピックのトライアスロンコースを運動記憶に変える グウェン・ジョーゲンセンの秘密のトレーニングツールは1万ドルのロードバイクではなく、彼女の心だ。まるで、彼女がリラックスして目を閉じる時のように。「レースの準備には、頭の中でイメージを視覚化します」と、30歳にしてトライアスロンで2度の世界チャンピオンに輝いたジョーゲンセンは語る。イメージ化トレーニ... 記事
By記事2026-01-04 Google VRとワイヤレスで手頃な価格のバーチャルリアリティの探求 <img width="1672" height="880" loading="lazy" src="/upload/20260104/84a433908f0182.webp" alt="httpswww.popsci.comsitespopsci.comfiles052815_googlei... 記事